永嘉上正流体科技有限公司 主营:不锈钢电磁阀,高温电磁阀,煤气电磁阀等电磁阀产品
电磁阀批发
行业动态

电话:0577-67378705,0577-67378706
传真:0577-67378707
邮编:325105
地址:浙江省温州市瓯北镇东瓯工业区
      和二工业园
E-mail:sungo@sungofluid.com

当前位置:首页 >> 行业动态 >> 多图介绍玻璃板液位计的结构与尺寸

多图介绍玻璃板液位计的结构与尺寸

 

    玻璃板液位计是一种直观显示液位的液位计产品,与其它液位计相比较,它的优点为直观可靠,可耐高温高压。而其缺点也很明显,就是过于笨重,没有信号输出无法远传控制。玻璃板液位计一般较多的使用于锅炉等压力容器的液位显示。

 

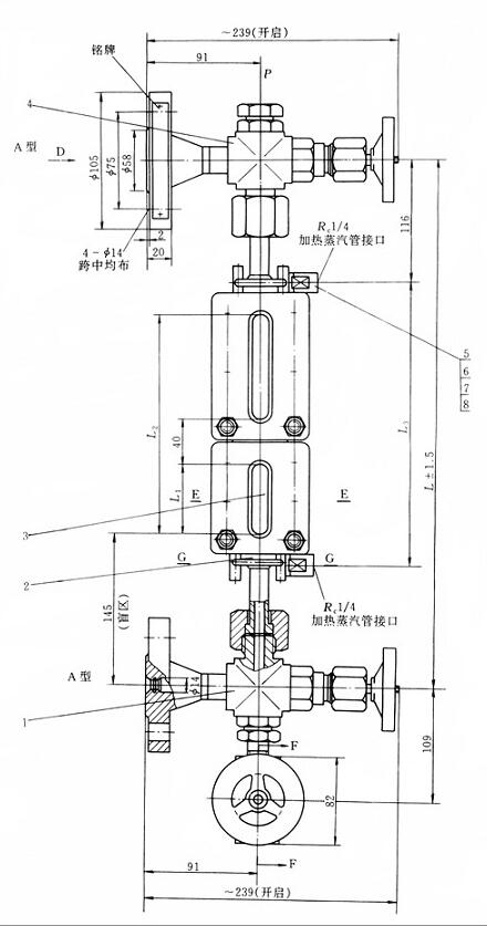
    首先,让我们来了解一下玻璃板液位计的结构组成,请参考图1所示。

玻璃板液位计结构组成

 图1 玻璃板液位计结构组成 

 

 

    一般来说,玻璃板液位计可分为透光式与反射式,它们在显示方式与结构上是有区别的,请看图2所示。

透光反射式玻璃板液位计

图2 透光反射式玻璃板液位计 

 

     

后,为大家介绍一下玻璃板液位计的显示部分数据参数及长度与重量的关系,请看图3所示。

玻璃板液位计尺寸及重量

图3 玻璃板液位计尺寸及重量 

 



Copyright © 2014-2016 永嘉上正流体科技有限公司 All Rights Reserved.  地址:浙江省温州市瓯北镇东瓯工业区和二工业园  邮编:325105  浙ICP备11007349号-1   百度统计 
电话:0577-67378705,0577-67378706  传真:0577-67378707  温州中网
关键词: 电磁阀,煤气电磁阀,高温电磁阀,不锈钢电磁阀,磁翻柱液位计

Baidu
map